Асинхронные трехфазные электродвигатели переменного тока
15.04.2014
В последнее время большой интерес со стороны потребителей наблюдается к двигателям со спец исполнением IM3681 (малый фланец). Уменьшения габаритов приводной техники, снижение материалоемкости конечных изделий ведет к снижению стоимости оборудования в целом и т.д.
Можем предложить минимальные сроки поставки и доставки электродвигателей со встроенным электромагнитным тормозом, электродвигателей во взрывозащищенном исполнении.
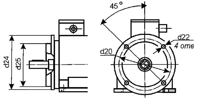
Размеры фланцев представлены в таблице.
При необходимости электродвигателя с малым фланцем необходимо знать размер d25 или d20.

| Размер, мм | Габарит электродвигателя | |||||||||||||||||||||||
| АИР 56 | АИР 63 | АИР 71 | АИР 80 | АИР 90 | АИР 100 | АИР 112 | АИР 132 | АИР 160 | АИР 180 | АИР 200 | АИР 225 АИР 250 | АИР 280 АИР 315 | АИР 355 | |||||||||||
d20 | IM2081 IM3081 | 115 | 130 | 165 | 165 | 215 | 215 | 265 | 300 | 300 | 350 | 400 | 500 | 600 | 740 | |||||||||
| IM2081 IM3681 | 65 | 85 | 75 | 100 | 85 | 115 | 100 | 130 | 115 | 130 | 130 | 130 | 165 | 165 | 215 | - | - | - | - | - | - | |||
d22 | IM2081 IM3081 | 10 | 10 | 12 | 12 | 15 | 15 | 15 | 19 | 19 | 19 | 19 | 19 | 24 | 24 | |||||||||
| IM2181 IM3681 | М5 | М6 | М5 | М6 | М6 | М8 | М6 | М8 | М8 | М8 | М8 | М10 | М10 | М12 | - | - | - | - | - | - | ||||
d24 | IM2081 IM3081 | 140 | 160 | 200 | 200 | 250 | 250 | 300 | 350 | 350 | 400 | 450 | 550 | 660 | 800 | |||||||||
| IM2181 IM3681 | 80 | 99 | 90 | 110 | 105 | 140 | 120 | 160 | 140 | 164 | 160 | 156 | 211 | 200 | 248 | - | - | - | - | - | - | |||
d25 | IM2081 IM3081 | 95 | 110 | 130 | 130 | 180 | 180 | 230 | 250 | 250 | 300 | 350 | 450 | 550 | 680 | |||||||||
| IM2181 IM3681 | 50 | 70 | 60 | 80 | 70 | 95 | 80 | 110 | 95 | 110 | 110 | 110 | 130 | 130 | 180 | - | - | - | - | - | - | |||
| Диаметр вала, мм | 11 | 14 | 19 | 22 | 24 | 28 | 32 | 38 | Уточняйте у отдела продаж | |||||||||||||||
IM2081, IM3081 – большой фланец
IM2181, 3681 – малый фланец с резьбовыми установочными отверстиями
| Еще новости на эту тему: | |
19.10.2023 | Мотор-редукторы Getriebebau NORD Drive Systems GmbH & Co. KG (Германия) |
19.10.2023 | Мультипликаторы |
19.06.2022 | Мотор-редукторы Bauer Gear Motor GmbH |
09.08.2021 | Предлагаем электродвигатели со встроенным электромагнитным тормозом в кратчайшие сроки |
06.05.2020 | Электродвигатели и технические решения IP66 для наружного использования |
14.05.2019 | Видео:Принцип работы и устройства различных редукторов |
